AmeriGlobe

FreePac™

FreePac™ - AmeriGlobe - Photo 1
The Box and Pallet Replacement Bulk Bag
FreePac™ - AmeriGlobe - Photo 2
The FreePac™ Leaves Weakness to Bulk Boxes

FreePac™

The Box and Pallet Replacement Bulk Bag

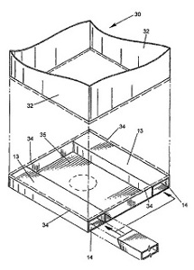
The FreePac™, with integrated BagPal technology, is designed to allow bulk bags to be used without wooden pallets, especially to avoid the expense of heat treating the pallets for export shipping.

Stability Stemming From Loading Space

The patented drop down portion of the bulk bag increases the FreePac's™ overall stability when stacked and adds volume to the bulk bag, making it more efficient for shipping and storage than other packages.

A Great Replacement for Semi-Bulk Boxes

The FreePac™ can be handled from below like a box using the patented plastic channels. Because the bulk bag reaches down to the base of the channels you get roughly a pallet-sized, flat surface for stacking, without having to buy a pallet with two complete decks.

BagPal Techonology

The FreePac™, with integrated BagPal technology, is designed to allow bulk bags to be used without wooden pallets, especially to avoid the expense of heat treating the pallets for export shipping.

What Makes Our Bags Better?

Non-stop problem-solving! We work hard to reduce the impact of the issues that affect your opertional efficiency and your bottom line.

View All Patents

FREEPAC™

Free of wood, free of mold, free of insects, as well as being a great handling and shipping package, the FreePac™ with BagPal techonology is a great replacement for bulk boxes.

AmeriGlobe logo

AmeriGlobe is not a bulk bag broker that offers no support. We are the largest bulk bag manufacturer in the United States. Our combination of US production and managed overseas production gives you safe, competitive pricing, while we work with you to show huge freight cost and system based savings.